Segue breve degressione teorica sui sistemi magnetodinamici, in relazione al interesse di "interfacciamento".
(scusate i toni, ma quando devo cercare "tomi" e "rinfrescarmi" la mente su cose che per mè sono ovvie io divento nervoso...
Riferimenti:
*1. "Distortion reduction in moving-Coil Loudspeaker Sistems Using Current-Drive Technology" Di M.O.J. Hawksford
*2. "Loudspeaker Voice_coil Inductance Losses" di Jr.Professor W.Marshall Leach
*3. "F.E.M. method to model the nonlinear voice coil motion produced by a loudspeaker magnet assembly" Mark Dodd Celestion & KEF audio ltd.
(sempre che per gli astanti questi tipi abbiano le sufficienti competenze per fare pubblicazioni... forse loro non sono al "altezza" di Aloia...
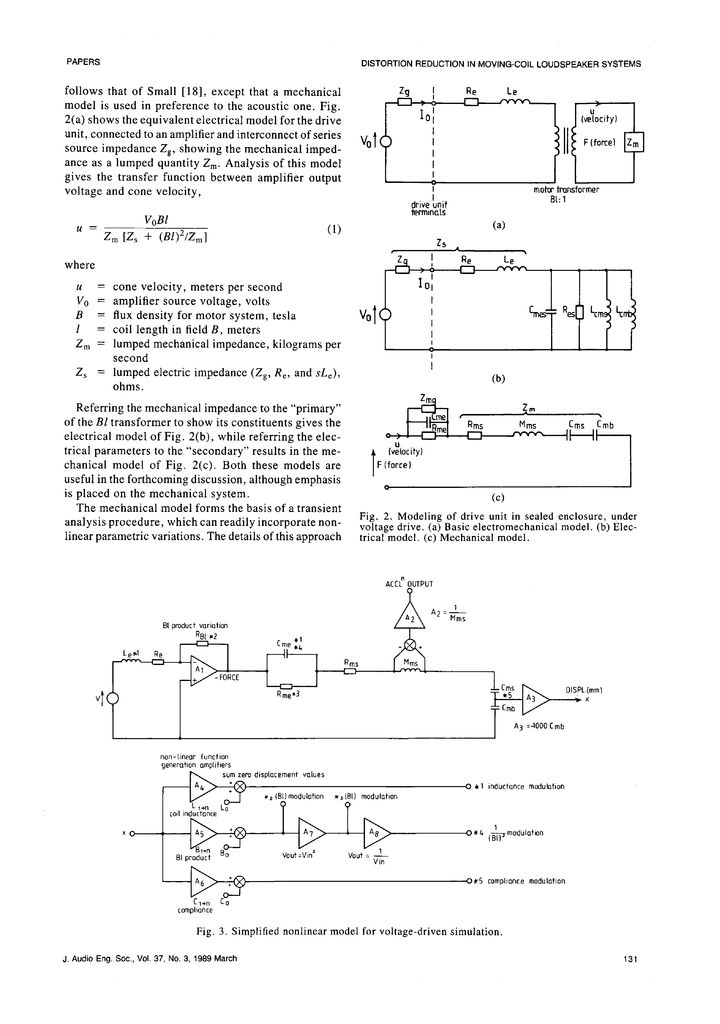
fase 1: estratto dal doc di HawKsford, modello elettromeccanico di trasduttore:

Date una letta e vedete il disegno.
La formula che definisce la velocità del cono è la (1) *1
µ= V0Bl / (Zm (Zs + (Bl)sqr/Zm))
Le definizioni le vedete nel foglio.
E' evidente che il movimento del cono risente in primo luogo di Zm, che è normale perchè Zm è rappresentativa del complesso meccanico (sospensioni allineamenti ecc...), ma a questa variabile si aggiungono altri 2 elementi di "disturbo", la relazione con Zs causata dalla trasposizione in corrente della formula: (Io = Vo/Zs) e la "corrente di ricircolo" causata dalle tensioni back_EMF "chiuse" dal generatore sul circuito magnetico a formare l' equazione: (Bl)sqr/Zm
Le tensioni di Back_EMF sono date dalla formula: F = Blµ (*2), ma la loro composizione nella formula (1) è leggermente "deviata" a causa della trasposizione tensione/corrente combinatoria e influenza equivalente su Bl...
Si evince che il pilotaggio in tensione introduce elementi di "non linearità" aggiunta, dato la lampante interazione su Bl (e quindi sul movimento) che le componenti di damping hanno, e la notevole non linearità di Zs, che subisce variazioni non lineari termiche ed elettriche.
fase 2: pilotaggio in corrente:
La formula estratta da *1 relativa alla funzione di trasferimento dello stesso sistema pilotato in corrente è:
µ = IoBl / Zm
Come si vede sparisce tutta la componente non lineare legata alle "correnti di rientro" causate dal damping elettrico e la variabile Zs (a causa della sua molto-minore-influenza-in-confronto a Zg, leggi "disaccoppiamento"), e rimangono solo le variabili meccaniche in gioco....
Non servono commenti...
Per "fare sparire" quegli elementi Zs+(Bl)sqr)/Zm quali sono le condizioni
preliminari?
ovvio, che il damping esterno sia molto minore di Zs, in pratica che Zg sia >> di Re, in modo che le correnti di ritorno e le componenti equivalenti serie (Re e Le) abbiano una rilevanza minima sul complesso elettromagnetico.
Altro elemento che mi preme precisare è che già in queste semplici formule emerge la totale sinergia del sistema elettromeccanico con quello maccanico (allineamenti e perturbazioni magnetiche varie) perchè TUTTE le forme di THD e IMD prodotte dal trasduttore si rispecchiano su B e l con conseguenza espressa su µ (pressione finale). Dato che B e l sono elementi base anche delle grandezze elettriche coinvolte.
A questo titolo si leggano le relazioni dirette tra la geometria (dinamica) del complesso magneto/meccanico ed il relativo flusso magnetico... (F.E.M. model) che a sua volta lavora su B...
E' dimostrabile che le tensioni di Back_EMF espresse da un trasduttore pilotato in corrente (no back_EMF damping) possono rappresentare uno specchio preciso delle THD IMD del trasduttore, esattamente come una bobina aggiunta al cono (Motional feedback control) funge da "sensore" di movimento non lineare...
Su questi elementi si può dimostrare che le tecniche di pilotaggio e NFB usate negli ampli possono influire nel processo di generazione di pressione sonora, ma solo applicando rigide regole analitiche.
Un pilotaggio in corrente migliora le prestazioni di un trasduttore. ma in modo DEL TUTTO INDIFFERENTE dalla presenza di un NFB di corrente in senso stretto. Diverso se l' NFB si basa sul analisi dinamica del movimento del cono, ma questo non mi sembra argomento per i nostri progettisti, è già molto se capiscono le cose che dico io (che non sono progettista audio ma solo "consumer").
L' uso di filtri crossover cambia notevolmente le "regole del gioco" e spinge ad usare ampli in tensione "per salvare il salvabile" con la consapevolazza di fare DISTORCERE DI PIU' i trasduttori ma di far lavorare correttamente i filtri reattivi e di mantenere una risposta in asse adeguata ad un riproduzione "coerente".
fine del "sermone"
ciao
PS: Non vi abituate a interventi di questo tipo, ma sopra tutto non attaccatevi a cavilli su qualche mia lacuna "divulgativa". Io posso anche sbagliare le mie esposizioni, non sono ne un divulgatore ne un professore, ma i miei "sentimenti" sono ben "fondati", e spesso mediati da centinaia di pubblicazioni lette...
Mauro